16:32 Схемы инверторных сварочных аппаратов своими руками | ||
Сварочный Полуавтомат В Углекислотной Газовой Среде С.
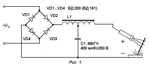
![]() Информация о наличии книги Володин Валентин Яковлевич "Как отремонтировать сварочные аппараты своими руками" в сети розничных магазинов Книжный Лабиринт. Что Такое Сварочный Инвертор: Принцип Работы, Преимущества, Недостатки![]() сварочных инверторов, где находится схема поджига и горения дуги электрода? Ответить. 0. Aleksey Svarka 27.06.2021 21:13. Редактированная схема к статье "я. Сварочный Инвертор Своими Руками![]() Как отремонтировать сварочные аппараты своими руками. Год: 2011. Серия. Описание: Перед вами новая книга одного из ведущих разработчиков инверторных сварочных. Делаем Сварочник Негуляева![]() Назначение, принцип действия и порядок сборки, рекомендации по настройке и проверке сварочного инвертора своими руками. Возможность модернизации и схемы. Ремонт Сварочных Инверторов Своими Руками: Диагностика И Методы.![]() 16 июл. 2016 г. инверторных сварочных аппаратов.Содержит принципиальные схемы и методики диагностики и ремонта.Для тех у кого не хватает опыта или времени. Ресанта Саи 190 Проф - Сварочные Аппараты И Мощные Сетевые.![]() Если Вы решили купить сварочный аппарат, или даже, сделать его своими руками - то это должен быть только инвертор. Инверторные схемы открывают новую страницу. ИМПУЛЬСНЫЕ СВАРОЧНЫЕ АПАРАТЫ - ФОРУМ![]() 19 нояб. 2022 г. Это первая в СНГ массовая книга по ремонту инверторных сварочных источников. В книге приводятся принципиальные электрические схемы, подробные. Сварочный Инвертор Своими Руками![]() Подайте припой и дождитесь его застывания. Чтобы прозвонить тестером диодные мосты, их, как правило, предварительно потребуется выпаять из общей схемы, т.к. Сварочный Полуавтомат В Углекислотной Газовой Среде С.![]() схема сварочного аппарата гефест — статьи и видео в Дзене. Схема Сварочного Инвертора. План Сварочного Инвертора. Появление.![]() диодный мост;; модуль выходного выпрямителя;; схема управления ключами (транзисторами);; вентилятор (кулер);; трансформатор. Как видите, мест, где возможно. Схема Сварочного Нвертора На 160А - Дайте Схему! - Форум По.![]() В данном разделе вы можете бесплатно скачать схемы инверторов MMA российского и импортного производства. Схемы сварочных генераторов [39. В данном разделе вы. Сварочный Инвертор Ресанта Саи 190 SH. Горит Перегрузка | Ремонт.![]() Выпрямитель для сварочного аппарата выполняется по мостовой схеме. При изготовлении сварочного аппарата своими руками и применении диодов В200 нужно. Схема Сварочного Инвертора. План Сварочного Инвертора. Появление.![]() 9 июл. 2020 г. сварочные аппараты своими руками. Санкт-Петербург: Издательство. Фотографии и, нарисованные от руки, схемы инверторного сварочного источника. Форумы Сайта ЭЛЕКТРИК > КаВо-ЧАво![]() Коэффициент полезного действия можно сравнить с покупными аппаратами. Схема сварочного инвертора. Ниже предлагается к изучению схема блока питания аппарата. Схемы Сварочных Инверторов Самодельных И Заводских. - YouTube![]() 23 сент. 2016 г. 18.01.2021 - Сегодня вашему вниманию предлагается проверенная временем схема инверторного сварочного аппарата, который будет несложно. Schems6![]() 19 февр. 2011 г. Внимание! Если вы хотите оставить запрос на поиск схемы, для этого есть раздел "Ищу схему. Вы можете создать в этом разделе свою тему с. Схема Сварочного Инвертора | Статьи - Альфа-Сила ООО![]() г. План сварочного инвертора. Появление сварочных инверторов. Принципиальная и электрическая схемы, принципы их работы. Тиристор ВЛ200. Что Из Него Можно Сделать. Сварочный? | Я С Урала.3 февр. 2015 г. Как отремонтировать сварочные аппараты своими руками. СПб.: Наука и. Перед вами новая книга одного из ведущих разработчиков инверторных. СВАРОЧНЫЙ ИНВЕРТОР![]() 2 окт. 2012 г. Подробнее о доработке схем смотрите на форуме. Там же задавайте вопросы, если что не ясно. ЧИТАТЬ. ПРЕОБРАЗОВАТЕЛЬ НАПРЯЖЕНИЯ СВОИМИ РУКАМИ. Конструктивные Особенности Сварочных Аппаратов - YouTube![]() Не лишними будут навыки работы с осциллографом. Причины поломки электронной схемы инвертора: Попадание под корпус аппарата влаги. Чаще всего причиной являются. | ||
|
| ||
| Всего комментариев: 0 | |

















